
130,014文|创业最前线
科创板或将迎来一家成立近20年的创新型生物技术公司。
今年7月4日,武汉禾元生物科技股份有限公司(以下简称“禾元生物”)在科创板IPO提交注册。
禾元生物因其核心业务“稻米造血”而广受关注,也成为证监会6月宣布“重启未盈利企业科创板第五套标准”以来,首家通过上市审议的生物医药企业。
所谓稻米造血,就是将编码人血清白蛋白的基因导入水稻基因组,通过转基因水稻种子表达和生产重组人血清白蛋白。传统生产人血清白蛋白则主要依靠血浆分离技术,即从健康人血浆中分离提纯获得。
人血清白蛋白用于治疗低蛋白血症、失血性休克、烧伤等危重症,属于临床刚需产品。中国市场规模预计2025年达425亿元,60%依赖进口。
禾元生物最后一轮融资为2022年Pre-IPO轮融资,募资5.56亿元,投后估值51.57亿元,目前已有一项产品被纳入国家药监局优先审评通道。
这符合科创板第五套上市标准的核心标准:预计市值不低于人民币40亿元,且生物医药企业需至少有一项核心产品获准开展二期临床试验。
然而,禾元生物的财务数据却暴露出技术突破与商业化之间的鸿沟。
2019年至2024年,公司累计净亏损超过7亿元,账上现金消减加快,可公司在资金紧张的情况下,过会前将募资额从原计划的35亿元大幅下调至约24亿元。
而这项技术还将面临纯度控制和放大生产的挑战,在这样的背景下,禾元生物“稻米造血”的商业化前景究竟有多大的可信度?
1、稻米造血:专利阴影下的技术创新
禾元生物由武汉大学生命科学学院教授杨代常于2006年创立,杨代常是中国著名水稻遗传学家、杂交水稻研究先驱朱英国院士的首位硕博士生,曾在国际水稻研究所和美国Ventria Bioscience公司任职。
Ventria Bioscience是一家“植物制药”技术公司,在植物源人源蛋白工业化生产方面属于全球最早一批尝试者。
正是创始人杨代常这一从业背景,使禾元生物将原本被用于食品和农业的转基因水稻技术,转向通过水稻表达体系生产人血清白蛋白。
人血清白蛋白是临床上广泛使用的血液制品,既可用于烧伤、失血、手术创伤,也被用于肝硬化腹水等慢性疾病,国内市场需求量巨大,长期以来高度依赖进口,这也是国内唯一允许进口的血液制品。
中检院批签发数据显示,2023年国内人血清白蛋白批签发批次超过4400批次,进口产品占比60%;2024年,人血清白蛋白共批签发5470批次,进口产品占比提升至69%。
禾元生物提出的“稻米造血”路径,是用植物表达系统解决血液制品供给瓶颈。
具体而言,公司通过基因工程将人白蛋白基因导入水稻种子,利用水稻胚乳细胞表达目标蛋白。公司核心平台包括水稻高效重组蛋白表达系统(OryzHiExp)和纯化技术平台(OryzPur)。
招股书显示,目前表达量已经从早期的每公斤稻谷产2.75克白蛋白,提升至20-30克。理论上,植物系统与酵母和哺乳动物细胞相比,固定投资和生产成本更低,产能上限更高,同时避免潜在病毒和人源污染风险。
不过,这一技术自20世纪90年代提出以来,全球至今尚无同类产品真正完成商业化。Albumedix公司、Ventria Bioscience的重组人血清白蛋白均只可用作药用辅料或科研试剂。
禾元生物核心产品HY1001重组人白蛋白注射液自2017年获得国内临床批件以来,先后完成多中心III期临床试验,2024年9月已递交上市申请,并进入优先审评程序。

(图 / 禾元生物官网)
HY1001在确证性临床研究中成功达到研究终点,针对肝硬化导致的低白蛋白血症患者,HY1001以20g/天的剂量连续给药14天后,在提升血清白蛋白水平方面的疗效不劣于目前的人血浆来源白蛋白。这种疗效在随访期内保持稳定,且安全性良好。
这一结果意味着,HY1001有望成为传统人血浆白蛋白的有力替代品。
在海外,HY1001也同步推进美国注册申报。然而创始人的老东家Ventria Bioscience却成为公司的“隐患”。
2020年12月,Ventria以专利侵权为由向美国国际贸易委员会(ITC)申请337调查,并于次年2月在美国堪萨斯州联邦地区法院提起诉讼。
2022年9月,ITC作出终裁:禾元生物聚合体含量低于2%的产品不得在美国销售,这意味着HY1001将被美国市场拒之门外。
禾元生物在2024年又进行了反击。当年,公司向美国特拉华州联邦地区法院提起诉讼,指控Ventria侵犯其多项美国专利,要求赔偿利润损失等。
2025年2月,美国联邦巡回上诉法院已作出判决,维持337调查终裁结果。2025年6月,法院将堪萨斯州诉讼与特拉华州诉讼合并审理,目前尚未作出判决。
还未有商业化产品,这家创新公司就已经被官司缠上。
2、六年亏损七亿:分散的股权与资金焦虑
早在2022年底,禾元生物就首次向科创板提交IPO申请。
当时的招股书显示,公司计划募资35亿元。但在监管问询、市场环境波动、申报更新等多因素影响下,公司历经近两年审议才最终在2025年7月1日过会,并在3天后提交注册。
与最初版本相比,公司募资计划出现明显缩减。根据最终上会稿,募资总额降至约24亿元:用于产业化基地建设投入、新药研发项目,以及补充流动资金。
但令人不解的是,禾元生物在今年3月版本的招股书中,募资计划还保持了35亿元,短短几个月就缩减了11亿元的资金需求。
根据科创板IPO常见比例按对应稀释25%的股份推算,募资35亿发行后估值为140亿元。如果只募资24亿元,估值将大幅降低至96亿元,缩水约三分之一。
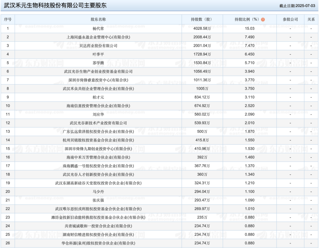
此外,禾元生物的股权结构高度复杂,公司共有134名股东。杨代常作为实际控制人,直接持股仅15.03%,位列第一大股东。为维持控制权,杨代常通过多重安排控制公司29.25%表决权。
禾元生物前10大股东合计持股约59.24%,其余124名股东分享剩余40.76%股权。大量股东持股比例极小,排名靠后的股东持股仅0.01%-0.02%,且大量为个人股东。



(图 / 东方财富网(禾元生物部分股东持股情况))
招股书显示,机构或公司持股较高的仅有上海同盛7.49%、贝达药业7.47%、光谷生物基金3.94%,以及倚锋睿意3.77%。
相比之下,近期申报港股IPO的生物医药企业通常有更多知名机构或药企参与投资,而禾元生物为何个人股东的数量远超机构股东?
对此,禾元生物解释称,公司成立于2006年,核心产品长期处于研发阶段,持续的资金需求迫使公司引入大量自然人投资者。此外,2015-2018年公司在新三板挂牌期间,通过公开交易和定向增发进一步引入散户投资者。
值得注意的是,杨代常之子YANG CLIFF YANG担任公司董事,通过禾众共创间接持股0.1492%。YANG CLIFF YANG 在2024年11月正式入职公司,当年领取了51.35万薪酬,此前四年其一直为公司提供咨询服务,领取顾问薪酬。
2019年至2024年,公司累计净亏损超过7亿元。2022年至2024年分别亏损1.44亿元、1.87亿元以及1.51亿元。
由于尚无商业化药品,主要营收大多来自药用辅料和科研试剂:2022年度约1339万元,2023年度约2426万元,2024年度约2521万元。
虽然公司营收有所上升,但和同期研发投入比显得捉襟见肘:2022年至2024年,研发费用分别为1.1亿元、1.59亿元以及1.16亿元。
除HY1001外,另有7款在研产品覆盖抗炎(HY1002)、抗肿瘤(HY1003)、罕见病等领域,这样广阔的适应症覆盖,对一家规模不大的生物技术公司来说较为勉强。
公司在2024年底前现金储备已降至约1.6亿元,而其首次冲刺科创板IPO之际、即2022年底时,账上还有3.87亿元。
禾元生物2022年底资产负债率为18.82%,到2023年底上升至23.97%,2024年底进一步升至43.38%,两年内翻倍,资产负债表承压明显,短期和长期借款大幅增长。
再加之,海外市场仍需公司投入资源应对与Ventria Bioscience的专利诉讼。相关律师费用、和解谈判与其他潜在花销均是一笔不小的运营开支。资金紧缺之下,禾元生物或不得不加快推进上市进程。
3、商业化难题:生产放大与市场接受度存疑
当前,国内人血清白蛋白不仅依赖进口,且价格不便宜,即便在集采后,人血清白蛋白价格仍维持在300-600元/10克。
天坛生物、华兰生物等传统血制品企业虽占据主导地位,但受制于血浆站数量限制和原料短缺,增长空间有限。且血浆分离工艺复杂,进一步导致白蛋白价格居高不下。
在众多药企寻找替代路径的过程中,除了植物表达系统外,酵母表达系统也曾被寄予厚望。
此前,三菱田边制药曾在日本尝试通过毕赤酵母体系生产重组人白蛋白Medway,但因临床试验数据造假,该产品在2009年即被撤市。
不过,近期国内的生物制药公司安睿特宣布其通过酵母表达系统的重组人白蛋白产品完成国内Ⅲ期临床试验,结果显示疗效与人血白蛋白相当,且在疗效维持时间上更具优势。
禾元生物披露数据称,目前重组人血白蛋白的成本大概是在10-13元/g,未来随着技术升级迭代带动表达量的提升,成本有望进一步降至7-10元/g。实现规模化生产后,生产成本将远低于血浆分离人血清白蛋白的生产成本。
在产业层面,这一项目的意义在于两点:一是技术路径,植物体系较酵母体系固定投资小、理论产能大;二是市场规模大。
然而,这一技术同样面临长期未解的生产放大和安全性难题。
首先,重组人白蛋白的单次用量比单抗药物高200倍。按照每剂20克计算,任何微量杂质或聚合物的残留,都可能导致免疫反应甚至过敏性休克。
禾元生物在招股书中披露,HY1001需将宿主蛋白杂质含量控制在0.00001%以下,相比抗体药要求高百倍以上。
此类指标在小规模实验室生产和批次验证中可控,但放大到万吨级工厂持续生产,长期一致性和稳定性尚无全球先例。
公司虽已获得GMP生产许可证,但是否能够按临床标准持续供货,需要进一步验证。(编者按:GMP即Good Manufacturing Practice的缩写,中文含义是“良好生产规范”,是一套适用于制药、食品等行业的强制性标准。)
此外,公司还要种植大面积水稻。招股书显示,公司在湖北及西部地区均设有药用水稻种植基地,2025年在中国西部的种植面积已超过9000亩,规模化生产后公司需持续获得较大规模的种植用地以满足公司产能需求。

以每公斤稻谷产出20–30克重组白蛋白计算,假设年产目标为100吨蛋白,理论上需要处理约330万–500万公斤稻谷,对种植规模、仓储和运输均是不小的长期投入。
其次,植物源体系在纯化和残留核酸去除方面工艺复杂。公司资料提到,HY1001需通过多级纯化和层析去除植物源特异杂质,且最终产品需符合注射级标准。
业内公开信息显示,过去十余年,酵母和动物细胞体系均未解决生产成本和纯度稳定性的平衡问题。禾元的植物生产方案是否能在放量后保持一致性,仍有不确定性。
第三,即便HY1001短期内获批,市场接受和医保谈判也需要周期。
公司在2023-2024年密集签订多份渠道合作协议,与国药控股、贝达药业、九州通等国内大型药品分销商建立销售网络。
禾元生物曾乐观预测,HY1001上市次年即2026年销售收入可达4.44亿元,2030年攀升至15.67亿元。但在缺乏真实世界数据、尚无同类产品规模应用的情况下,是否能被市场广泛接受,存在很大不确定性。
而在美国市场,禾元生物与老东家Ventria Bioscience的专利纠纷官司未决,一旦专利有效性在后续诉讼中被确认,禾元的产品即使工艺不同,也可能面临赔偿和禁售风险,是否对公司未来在美国市场准入和知识产权稳定性方面构成障碍,仍需进一步观察。
总体来看,禾元生物目前面临着技术、财务和市场多重风险叠加。在国内政策支持下,科创板第五套标准的重启为公司打开了融资通道。然而,回到基本面,能否兑现投资回报与产业预期,仍需时间和真实世界的检验。
*注:文中题图及其它未署名配图来自:图网基于VRF协议。